Recherche Google
OMChroma User ManualPredefined Classes > Granular Formant Wave Function (FOG) > Granular Synthesis with FOG-1
page précédentepage suivante

Granular Synthesis with FOG-1

Tutorial FOG-1

Specific Slots

Name

Description

Default value

amp

Maximum Amplitude. Linear from >0.0 to 1000 or in dB from 0 to -∞ (see Tutorial Getting Started 02 - Amplitude and Internal Editor for more details)

-6.0

f0

Density of the grain

100

freq

Transposition factor (1=same as original)

1

bw

Bandwidth at -6dB [Hz or % of centre freq]

0

afil

Audio file [name, with possible path, sound, string, pathname or GEN01]

31

spd

speed [mlt, 1=same as original]

1

aenv

Amplitude Envelope [GEN]

Instance: GEN07

win

Rise time of the local attack (FOF/grain) [sec]

0.01

wdur

Total duration of the FOF/grain [sec]

0.1

wout

Decay time of the local decay (FOF/grain) [sec]

0.05

oct

Octaviation factor of the fof [flt >=0.0]

0.0

Class description

The FOG-1 Class realizes a Granular Synthesis with the following controls:

  • The main amplitude,
  • The density of the grain,
  • The audio file transposition factor,
  • The band width,
  • The speed or rate at which successive grains progress through the stored function table,
  • The amplitude envelope by means of a GEN routine,
  • The attack, duration and decay of the grain,
  • The octaviation factor.
Patch description

The example A focuses on the density of the grains.

The example B deals with the transposition factor.

The example C spreads the rate at which successive grains progress through the stored function table from 0.25 to 4 [1=same speed as original].

The example D focuses on the rise time of the FOF window,

The example E focuses on the duration of the FOF window,

The example F focuses on the decay time of the FOF window,

The example G fixes on the octaviation factor.

Common Red Patches

For the red patch C#ed see Appendix A

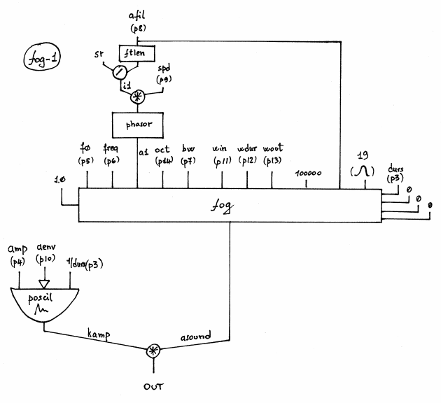
Inside the Class

Csound Orchestra of the FOG-1 Class.

instr 1

idur = p3

idurosc = 1/p3

iamp = (p4 > 0.0 ? (p4*0.001*0dbfs) : (ampdbfs (p4)))

idens = p5

ixpf = p6

iband = p7

iafil = p8

iskip = p9

iaenv = p10

iwin = p11

iwdur = p12

iwout = p13

ioct = p14

imode = 0

iolaps = 100000

isigfun = 19

iphs = 0

iinit = 0

; amplitude envelope

amp poscil iamp, idurosc, iaenv

i1 = sr/ftlen(iafil) ;scaling to reflect sample rate and table length

a1 phasor i1*iskip ;index for speed

; aspd,

; xamp, xdens, xtrans, koct, kband, kris, kdur, kdec, iolaps, ifna,

asound fog 1.0, idens, ixpf, a1, ioct, iband, iwin, iwdur, iwout, iolaps, iafil, isigfun, idur, iphs, imode, iinit

; ifnb, itotdur

outc asound*amp

endin

Flow chart
page précédentepage suivante
A propos...Réalisé avec Scenari